科锐接地电阻测试仪是一种先进的数字化检测设备,专为现代智能防雷系统设计,用于实时监测和评估接地系统的电阻性能。与传统人工手动式测试仪不同,该设备集成智能化技术,能够自动采集、分析和存储接地电阻数据,广泛应用于石油化工、电力设施、通信基站、建筑物防雷等领域。它通过在线监测功能,确保接地系统在雷电环境下的可靠性,及时发现潜在故障,为防雷改造和系统维护提供精准的数字依据。该测试仪不仅提升了检测效率,还通过GPRS无线通讯或RS485有线通讯进行数据远程传输与智能防雷系统无缝对接,实现多点在线监测,满足现代化防雷管理的需求,是保障电气安全和雷电防护的重要组成部分。
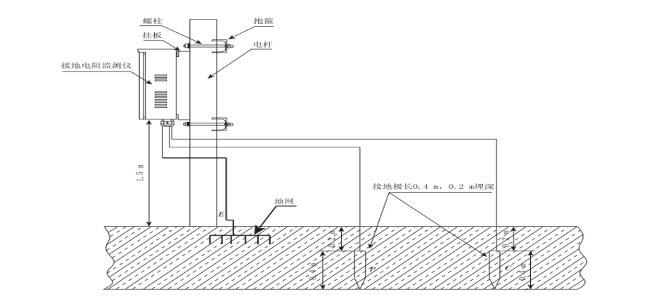
接地电阻值测量采用额定电流变极法,即在测量对象 E(接地极)和 C(电流极)之间流动交流额定电流 I(11mA Max,128Hz),求取 E 和 P(电压极)的电位差 V,然后求取接地电阻 Rx 的方法,Rx=V/I。原理图如下:
图1 接地电阻检测原理图

其工作误差(B)是额定工作条件内所得误差,由使用仪表存在的固有误差(A)和变动误差(Ei)计算得出。
A:固有误差 E1:位置变化产生的变动
E2:电源电压变化产生的变动 E3:温度变化产生的变动
E4:干扰电压变化产生的变动 E5:接触电极电阻产生的变动
E7:系统频率变化产生的变动 E8:系统电压变化产生的变动
序号 | 名称 | 参数描述 |
1 | 功能 | 在线监测接地电阻、等电位联结电阻 |
2 | 电源 | 高性能锂电池或220V市电 |
3 | 测量方式 | 精密三线测量、简易两线测量 |
4 | 防护等级 | IP65 |
5 | 测量范围 | 有效范围0.001Ω-20000Ω |
6 | 测量时间 | 约30 秒/次 |
7 | 测量次数 | 10000 次以上 |
8 | 功耗 | 待机: 2mA Max ,测量:400mA Max |
9 | 测量接口 | 3P防爆、防水航空插头 |
10 | 通讯方式 | RS485,RS485/EtherNet,RS485/Zigbee,RS485/GPRS |
11 | 监测频率 | 默认72h,可远程设置监测时间频率 |
12 | 数据模式 | 平均值 |
13 | 存储方式 | 云存储永久可查 |
14 | 绝缘电阻 | 10MΩ以上(电路与外壳之间 500V) |
15 | 耐压 | AC 3700V/rms(电路与外壳之间) |
16 | 适合安规 | IEC61010-1、IEC1010-2-31、IEC61557-1、 IEC60529(IP54) |
17 | 工作温湿度 | -20℃~60℃;90%rh 以下 |
18 | 质量保障 | 按照工业电子产品质量标准制造,保修期2年 |
19 | 其它 | 第三方(防爆检验机构)的检验报告、防爆合格证、产品合格证、产品使用说明书 |
开箱检查
打开包装箱后,您将看到与产品配套的装箱清单,请您仔细核对与设备配套的物料和附件以确保无误。
& 注意
1. 安装过程中应避免将设备的电缆、传感器接口、断路器与尖锐硬物发生碰撞。
2.安装结束后,请再次检查,确保传感器和交流电源接入到正确的端口。
3. 查看外包装是否有明显的破损、挤压、变形、水渍等异常情况。
4. 确认外包装上的产品名称、型号、数量等信息与您订购的产品一致。
室内安装标准

接地电阻检测仪室内安装示意图
室外安装标准

接地电阻检测仪室外安装示意图
建筑物上设备安装示意图
(4)屏幕显示和操作说明
操作说明:
1.短按查询接地电阻历史检测数据。
2.长按3秒进入菜单界面,短按选择菜单栏。Test栏长按2秒测试接地电阻;RF栏长按2秒通信测试;Up栏长按2秒向上查询数;Down栏长按2秒向下查询数据;Clear栏长按2秒清除历史数据;Exit栏长按2秒回到首页;Sel栏选择功能和Offset栏校准功能请勿操作。


建议设备管理人员定期检查设备在线情况和查看接地电阻,定期检查设备外观和安装是否牢靠,有问题及时咨询本公司。
设备故障说明 | 对应原因和措施 |
1.设备通讯故障 | 1.电池接触不良或没电,重新装好电池、处理接触不良点或更换电池。 2.通讯卡故障或者欠费,更换通讯卡或者充值。 3.安装点可能通讯不良,清理遮挡物或适当调整安装位置。 |
2.电阻值异常 | 1.电池接触不良或没电,重新装好电池、处理接触不良点或更换电池。 2.查看测量线插头是否牢靠和3条测量线路是否遭到损坏,修复线路。 |
在符合国家颁布的相关的法律法规的同时,公司将尽可能的为用户提供更优质的服务。
自购买本公司产品之日起两年内保修。在保修期间内若产品自身故障,本公司负责免费的更换、维修或返回本公司维修服务,对于不满足免费保修的范围内,公司只将收取一定的维修成本费用。
下列情况不属于保修范围:
1. 由于最终用户使用不当引起的损坏。
2. 未在产品规定的工作环境范围使用导致的故障。
3. 不可抗拒的自然灾害或人为因素,如水灾、冰雹、地震、人为暴动等。
4. 超过保修期。
保修事项:
1. 如需将产品返回本公司维修,请使用保护性的硬包装,若因运输过程中导致的损坏将不在保修范围内。
2. 请对返修产品的故障问题以及引发故障的操作流程尽可能的做出描述,以便于能尽快的为解决问题。
3. 如需更换的产品只提供同规格型号的产品。
4. 请写明您的姓名、地址和联系方式,我们将及时与您保持沟通。